Der Wartburg 1000 - 312

Im Heft 9 hatten wir den Wartburg 312 mit seinem neuen

Fahrwerk kurz vorgestellt. Es folgt nun die ausführliche

Beschreibung aller Änderungen des neuen Baumusters,

die der Leiter der F.- u. E.-Stelle im VEB Automobilwerk

Eisenach, Dipl-Ing. G. Roth, und Ing. Wißler verfaßte.

Für die Einschätzung im vorigen Heft fuhren wir eine Wart-

burg-Limousine über eine kürzere Fahrstrecke. Wir wer-

den die Verbesserungen auch am neuen Wartburg-Hard-

top kennenlernen und in der Veröffentlichung im

Novemberheft noch einmal diskutieren. Die Redaktion


Der im vorigen Heft 9/1965, Seite 346, vorgestellte neue War-
tburg 1000 mit der Baumusterbezeichnung 312 löst das bisherige
Baumuster 311 des gleichen Typs ab. Die Merkmale der beim neuen
Modell erfolgten Weiterentwicklung sind die Verwendung eines
völlig neuen Fahrgestells mit schraubengefederter Vorder- und
Hinterachse unter Beibehaltung der bewährten, großräumigen
Karosserie (Bild 1).
Beim neuen Wartburg wird also das Prinzip der getrennten Rah-
menbauweise (Bild 2) mit den nach wie vor gültigen Vorteilen einer
wirtschaftlichen Reparaturmöglichkeit bei größeren Schäden und
einer wirksamen Isolation der Fahrbahngeräusche vom Passagier-


raum beibehalten (Bild 3). Darüber hinaus besitzt der neue Typ
solche typischen Wartburg-Merkmale, wie den fahrtechnisch gün-
stigen Frontantrieb und den robusten Dreizylinder-Zweitaktmotor
als Antriebsaggregat.
Gegenüber den bisher in den vergangenen Jahren zielstrebig vor-
genommenen Verbesserungen, bei denen die Austauschbarkeit der
geänderten Teile und Aggregate stets erhalten blieb, wurde bei der
Konzeption des neuen Fahrwerks zugunsten der Verwirklichung
moderner Konstruktionstendenzen auf die Austauschbarkeit des
Fahrgestells und seiner Einzelaggregate, wie Radaufhängung und
-antrieb, Lenkung usw., sowie des in verschiedenen Anbauteilen
geänderten Motorgetriebe-Antriebblocks verzichtet. Der beibehal-
tene Karosseriekörper mußte zur Anpassung an das neue Fahr-
gestell ebenfalls in einigen Anschlußpunkten der Bodenanlage
geringfügig geändert werden, wobei aber die Verwendungsmöglich-
keit der seit Beginn des Jahres 1965 produzierten Karosserien für
beide Fahrwerke - bisheriger 311 und neuer 312 - verwirklicht
werden konnte.
Die gewählte Konzeption bietet unter Ausnutzung der Vorteile der
in der 1-l-Klasse konkurrenzlos geräumigen, viertürigen Karosserie
die Möglichkeit, wesentliche Verbesserungen entsprechend dem
internationalen Niveau zu verwirklichen, wie Erhöhung des Fahr-
komforts und damit generelle Verbesserung der Fahreigenschaften
sowie weitestgehende Wartungsfreiheit.
Die bislang für den Wartburg 1000 gültigen fahrtechnischen Kenn-
werte, wie Beschleunigung (Bild 4), Spitzengeschwindigkeit und
Kraftstoffverbrauch sowie zulässige Zuladung usw., wurden bei-
behalten, andere z.T. erheblich verbessert. Der Wendekreisdurch-
messer beträgt z.B. beim Baumuster 312 nach beiden Seiten 10,2 m,
so daß das Fahrzeug in der Manövrierfähigkeit allen Forderungen
des modernen Straßenverkehrs mühelos gerecht wird.

Bild 1 (oben)   Wartburg 312 mit 13" Rädern
Bild 2   Neues Fahrgestell des Wartburg 312

 
Kraftfahrzeugtechnik 10/1965
 
 
Zurück zur Auswahl oder zur Homepage  
 

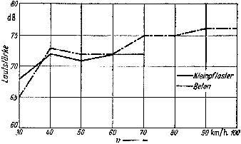
Die erwähnte Senkung des Geräuschpegels (siehe Bild 3) im Fahr-
zeuginnern konnte durch verschiedene konstruktive Maßnahmen
an der Motorgetriebeaufhängung und der Auspuffanlage erreicht
werden.
Insgesamt repräsentiert der Wartburg 1000-312 trotz seines kaum
veränderten äußeren Aussehens gegenüber seinem Vorgänger einen
PKW der Mittelklasse, der den Anforderungen des modernen Ver-
kehrs vollauf gerecht wird. Die Konstruktionsdetails und technischen
Parameter - insbesondere des neuen Fahrwerks - werden im fol-
genden beschrieben.

Rahmen

Basis des Fahrgestells ist wie beim Vorgängertyp 311 ein verwin-
dungssteifer Kastenprofilrahmen, dessen beide Längsträger auf
Grund der Verlegung der Auspuffleitung in die Fahrzeugmitte unter
dem Fahrgastraum bis an die Karosserieaußenkante herausgezogen
sind. Mit entsprechender Ausbildung der Querversteifungen und
angeschweißten Konsolen nimmt er alle Aggregate des Fahrgestells
auf, u. a. auch das stehend angeordnete Fußhebelwerk und die
Handbremse (Stockbremse) sowie den in sich geschlossenen Karos-
seriekörper.

Vorderachse und Radantrieb

Die einzeln aufgehängten, angetriebenen Vorderräder werden durch
obere und untere Querlenker geführt (Bild 6). Die Federung erfolgt
durch linear gewickelte Schraubenfedern, die sich einerseits auf dem
oberen, kurzen Querlenker und andererseits über eine geräusch- und
schwingungsdämpfende Gummizwischenlage am Rahmenfeder-
träger abstützen.
Zur Erzielung einer weichen Federkennung im Hauptarbeits-
bereich der möglichen Belastungsfälle des Fahrzeugs ist zur Auf-
nahme starker dynamischer Beanspruchungen die Federkennung
durch Zuschaltung einer ebenfalls auf den oberen Querlenker wir-
kenden Gummizusatzfeder progressiv gestaltet. Die Abstimmung
dieser Zusatzfeder, die zugleich die Federwegbegrenzung beim
Einfedern darstellt, ist so gewählt, daß der Übergang zur steileren
Federkennung bei entsprechend starker Einfederung ohne spürbaren
Unterschied erfolgt, so daß starke Fahrbahnstöße elastisch abge-
fangen werden. Die untere Federwegbegrenzung erfolgt durch einen
Gummipuffer, der bei maximaler Ausfederung den oberen Quer-
lenker abfängt. Die mit der gewählten Anordnung erzielte Feder-
kennung und die Wege sind im Bild veranschaulicht. Bei einem
Gesamtfederweg von 165 mm beträgt die spezifische Federkennung
im Hauptarbeitsgebiet 27 (14) mm/100 kp Achslast, wodurch eine
Schwingungsfrequenz bei zulässiger Achslast von 77 (114) min-1 bei
einer Eigenreibung von rd. 60 (100) kp erreicht wird.
Die Klammerwerte geben vergleichsweise die entsprechenden Werte
der bisherigen Blattfederung an. Dabei setzt der für die Eigen-
reibung der Blattfederung angegebene Wert besten Pflegezustand
voraus. Im Fahrbetrieb kann die Eigenreibung bis zu 160 kp und
mehr durch mangelnde Pflege anwachsen. Demgegenüber ist die
Schraubenfeder wartungsfrei und garantiert die gleichbleibend
guten Federungswerte unabhängig von der Laufzeit. Die Dämpfung
der Federschwingungen erfolgt durch doppeltwirkende hydraulische
Teleskopstoßdämpfer mit einer auf das Fahrzeug abgestimmten
Optimaleinstellung von 80/50 kp (Zug/Druck) nach TGL 8114. Die
vorderen Stoßdämpfer sind innerhalb der Schraubenfedern ange-
ordnet und vom Motorraum her leicht auszuwechseln.
Die aus einem Blechpreßteil hergestellten oberen und unteren
Querlenker sind schwenklagerseitig in staub- und wasserdicht
gekapselten Stahlkugelgelenken gleicher Ausführung oben und
unten, sowie rahmenseitig in radial- und axialelastischen Gummi-
bundbuchsen gelagert. Während die Fettfüllung der äußeren Kugel-
gelenke für ein Wartungsintervall von 50 000 km bemessen ist, sind
die Gummibundbuchsen wartungsfrei für eine Mindestlebensdauer
von 100 000 km bemessen. (Schmiermittel für die Kugelgelenke:
12 g Ceritol THA 3 im Balgraum, 7 g Öl GHD-Graphitgemisch
im Gelenkraum. Die Nachschmierung erfolgt nach Demontage
der Manschette und Reinigen des Gelenkes durch eine Gewinde-
bohrung im Gelenkdeckel [Öl-Graphitgemisch] sowie durch Auf-
tragen von Ceritol THA 3 auf die Unterseite des Gelenkes.)
Zur Radlagerung sind zwei Rillenkugellager mit innenliegendem
Führungslager angeordnet. Die Aufnahme der Lager erfolgt einer-
seits im Schwenklager-Schmiedeteil, andererseits in einer mit dem
Schwenklager verschraubten Radnabe, deren Befestigung gleich-
zeitig die Radbremsanlage mit erfaßt. Die Innenlagerung erfolgt
nicht mehr wie bisher direkt auf dem äußeren Mitnehmer der
Antriebswelle, sondern auf einer durch ein Innenprofil kraftschlüssig
mit der Antriebswelle verbundenen Laufhülse des Radmitnehmers,
so daß Radlager- und Antriebswellenmontage vollkommen ge-
trennt durchgeführt werden können. Der ebenfalls für eine Laufzeit
von 50 000 km bemessene Wartungszyklus wird durch die rad- und




3



4



5




gelenkseitige Abdichtung des Fettraumes mit Simmeringen und
zusätzlicher Staubkappe auch von seiten des Gelenkes garantiert.
Die Radbremstrommel übergreift den Radmitnehmer und kann
nach Lösen des Laufrades abgenommen werden, so daß Wartungs-
arbeiten an der Bremse ohne nennenswerten Montageaufwand
durchgeführt werden können.
Der Antrieb der Vorderräder erfolgt über eine homokinetische
Antriebswelle, bei der das bisherige Gummigelenk am Getriebe
durch ein Dreiarmgelenk mit Längenausgleich ersetzt wird, während
radseitig die Doppelgelenkkonstruktion, wie sie seit einiger Zeit
beim Wartburg Verwendung findet, beibehalten wird. Dabei konnte
allerdings der zulässige Beugungswinkel zur Erreichung großer Rad-
einschlagwinkel für den oben angeführten Wendekreis von 10.2 m
auf 43° erhöht werden. Mitlaufende Manschetten am äußeren und
inneren Gelenk garantieren eine staub- und wasserdichte Kapselung
und damit eine wartungsfreie Betriebszeit der Gelenkwellen von
100 000 km.

Hinterachse

Die Hinterachskonstruktion ist gegenüber der bisherigen Starrachse
durch einzeln aufgehängte Räder gekennzeichnet, die durch Schräg-
pendelarme geführt werden (Bild 7). Der Anlenkungswinkel gegen-
über der Fahrzeuglängsachse beträgt 64° und ist so gewählt, daß
 
Kraftfahrzeugtechnik 10/1965
 
 
Zurück zur Auswahl oder zur Homepage  
 



Bild 3   Innengeräuschpegel während
der Fahrt

Bild 4   Beschleunigungsdiagramm des Wart-
burg 312

Bild 5   Kraftstoffverbrauch des Wart-
burg 312

Bild 6   Vorderradaufhängung

6


die sich beim Einfedern ergebenden Sturzwerte der Hinterräder ein
stabiles Fahrverhalten des Fahrzeugs ergeben. (Sturzwerte der
Hinterräder - siehe technische Daten.)

Die Federung erfolgt wie bei der Vorderachse durch linear gewickelte
Schraubenfedern und je zwei Gummizusatzfedern. Damit wird
ebenfalls der Effekt eines weichen Betriebsfederbereiches bei pro-
gressiver Federkennung erreicht, so daß auch hohe dynamische
Belastungen in der Federung verarbeitet werden, wie sie sich in
besonders hohem Maße für die Hinterachse durch die unterschied-
lichen Belastungszustände des Fahrzeugs ergeben können. Aus
diesem Grunde wurde der für Fahrzeuge dieser Größen- und Ge-
wichtsordnung reichlich bemessene Gesamtfederweg von 220 mm
verwirklicht. Bild 9 zeigt die Federkennlinie eines Hinterrades.

Folgende Kennwerte wurden an den Hinterrädern erzielt (Klammer-
werte wiederum Blattfederung Baumuster 311):
Spezifische Federkennung im
Hauptarbeitsgebiet

Schwingungsfrequenz bei zulässiger
Achslast
Eigenreibung
(* abhängig vorn Wartungszustand)
31 mm/100 kp Achslast
(22 mm/100 kp Achslast)

71 (92)min-1
30 (70 bis 120)* kp

Zur Abstützung der Schraubenfedern befinden sich am Rahmen
Federträger, in denen die Federn mit Gummizwischenlagen ge-
lagert sind. Die Federträger nehmen gleichzeitig die beiden Gummi-
zusatzfedern und die Aufhängung der zentral in den Schrauben-
federn angeordneten hydraulischen Teleskopstoßdämpfer auf. Die
Stoßdämpfereinstellung der Hinterachse beträgt 140/30 kp (Zug/
Druck) nach TGL 8114. Zur Unterscheidung der in den äußeren
Abmessungen gleichen, in der Einstellung jedoch unterschiedlichen
vorderen und hinteren Stoßdämpfer sind die Dämpfkraftwerte
sichtbar eingeprägt und eine farbliche Kennzeichnung angebracht.

Die Anlenkung der Schrägpendelarme am Rahmen besteht aus den
gleichen wartungsfreien Gummibundbuchsen wie an den Vorder-
achsrädern, wobei die Befestigung durch axiale Verspannung der
Bundbuchsen ebenfalls mit Hilfe eines Bolzens geschieht. Der aus
zwei gabelförmigen Blechhalbschalen gebildete, mit dem Federtopf
und der unteren Stoßdämpferaufnahme verschweißte Schräg-
pendelarm trägt außen die Radlageraufnahme, die ebenfalls mit
dem Achskörper verschweißt ist. Dieses Schmiedeteil ist so aus-
gebildet, daß der Anschluß der Radlagerelemente dem des Schwenk-
lagers der Vorderachse entspricht. Damit findet für Vorder- und
Hinterachse die gleiche Radlagerung Verwendung (gleicher War-
tungszyklus von 50 000 km), wodurch zur Einschränkung des
 
Kraftfahrzeugtechnik 10/1965
 
 
Zurück zur Auswahl oder zur Homepage  
 
 
 


Bild 7   Hinterradaufhängung

Bild 8   Federkennlinie vorn

Bild 9   Federkennlinie hinten

 
 

8 Federkennlinie vorn

9Federkennlinie hinten
 
 

Ersatzteilsortimentes gleiche Norm- und Einzelteile, wie Brems-
trommel, Radmitnehmer (vorn lediglich mit zusätzlicher Innenver-
zahnung, für Hinterachse verwendbar), Radnabe, Abstandshülse,
Simmerring, Kugellager usw. neben den ebenfalls gleichen Gummi-
bundbuchsen angewendet werden.
Der eigentliche Achszapfen wird also durch den Lagerhals des Rad-
mitnehmers gebildet und ist mitdrehend. Eine in der Bohrung des
Radmitnehmers liegende Sechskantschraube verspannt die Rad-
lager mit dem Radmitnehmer. Ein weiteres Merkmal der Hinter-
achskonstruktion ist der zur Minderung der Seitenneigung bei
Kurvenfahrt vorgesehene Drehstab-Querstabilisator. Seine Lagerung
erfolgt ebenfalls wartungsfrei in zwei Gummilagern am Rahmen
zwischen den beiden hinteren Federträgern und durch die gummi-
elastische Anlenkung an den beiden Achslenkern.

Lenkung

Ebenso wie Vorder- und Hinterachse ist die Lenkung vollkommen
umgestaltet. Entsprechend der kinematischen Verhältnisse der

schraubengefederten Vorderräder macht sich die Anwendung einer
Zahnstangen-Schubstangen-Lenkung erforderlich (Bild 10). Sie be-
sitzt das übliche Zahnstangenlenkgetriebe und eine parallel ge-
führte Schubstange, an die die Spurstangen zentrisch angeschlossen
sind. Die Kraftübertragung zwischen Zahn- und Schubstange erfolgt
über eine gummielastische und somit stoßdämpfende Verbindung.
Die Auslegung des Lenkgetriebes erlaubt bei einer Erhöhung des
Lenkübersetzungsverhältnisses auf etwa 1 : 19 die bereits erwähn-
ten großen Lenkeinschläge der Vorderräder, so daß insgesamt 3,5
Lenkradumdrehungen von Anschlag zu Anschlag erforderlich sind.
Durch die erhöhte Übersetzung wird eine bessere Leichtgängigkeit
und in Verbindung mit der elastischen Kraftübertragung eine stoß-
ärmere Lenkung erreicht, ohne die Lenkeigenschaften des Fahrzeugs
zu beeinträchtigen. Weitere Merkmale des neuen Lenkgetriebes sind
eine selbsttätige Ritzelnachstellung und die ebenfalls vollkommene
Wartungsfreiheit einschließlich der inneren sind äußeren Spur-
stangengelenke.
Die selbsttätige Ritzelnachstellung, bei der das schwenkbar gela-
gerte Ritzel durch Federdruck spielfrei mit der Zahnstange in
 
Kraftfahrzeugtechnik 10/1965
 
 
Zurück zur Auswahl oder zur Homepage  
 


Bild 10   Neue Lenkung des
Wartburg 312

Bild 11   Neues Lenkrad mit
Schaumpolsterauflage

 

Das gepolsterte Lenkrad

Tafel 1   Technische Daten des Triebwerks

Motor
 
Bohrung/Hub
Hubraum
Verdichtung
Leistung
max. Drehmoment
Kurbelwellenlagerung
 
Schmierung
 
 
Vergaser
 
Kraftstofförderung
Getriebe und Kupplung
Ölfüllung
Getriebeübersetzungen

Dreizylinder-Zweitaktmotor mit
Umkehrspülung
73,5/78 mm
992 cm³
7,3
45 PS (DIN) bei 4200 U/min
9,3 kpm bei 2750 bis 3000 U/min
vier geräuscharme Rillenkugellager,
nadelgelagerte Kolbenbolzen 20 mm Dmr.
Frischöl-Mischungsschmierung (1: 33 1/3),
legiertes Zweitakt-Motorenöl, Viskosität: Sommer und Winter 3°E/50°C
Flachstromvergaser BVF H 362-24
Lufttrichter 28 mm Dmr.
Unterdruckförderpumpe
 
2,5 l (Nachfüllmenge 2,25 l)
1.Gang 2.Gang 3.Gang 4.Gang Rückw.-Gg. Achsantr.
Übersetzung 3,273 2,133 1,368 0,956 4,44 4,429
Gesamtübers. 14,49 9,45 6,06 4,24 19,67 ---


Eingriff gebracht wird, erübrigt die Ein- und Nachstellung des
Zahnspiels und hält die Lenkung stets spielfrei. Damit wird gleich-
zeitig ein Ausschlagen der Lenkung. wie es bei nicht rechtzeitigem
Nachstellen einer konventionellen Zahnstangenlenkung eintreten
kann, vermieden.
Die Wartungsfreiheit des gesamten Lenkgetriebes wird durch die
staub- und wasserdichte Kapselung aller beweglichen Teile, wie der
Zahnstange und der Spurstangengelenke, erreicht. Die Fettfüllung
ist für eine Laufzeit von 50 000 km bemessen. Nach dieser Laufzeit
muß das Lenkgetriebe gereinigt und mit einer neuen Fettfüllung
von 230 g Getriebefett 10 GF versehen werden. Gleichzeitig mit
dem neuen Lenkgetriebe wird beim Wartburg 312 ein neues, kunst-
stoffummanteltes Lenkrad eingeführt. Zur Erhöhung der inneren
Sicherheit ist es schüsselförmig ausgebildet und außerdem mit einer
schaumstoffgepolsterten Nabe versehen (Bild 11).

Bremsanlage

Die hydraulische Fußbremsanlage entspricht im Prinzip dem bis-
herigen Baumuster und unterscheidet sich lediglich durch die

Anschlußmaße an den Radaufhängungen sowie durch eine geänderte
Belagqualität. Es finden die bewährten Trommelbremsen mit der
reichlich bemessenen Gesamtbremsfläche von 920 cm² und der
Duplex- (Vorderräder) bzw. Simplex- (Hinterräder) Gleitbacken-
anordnung weiter Verwendung.
Die mechanisch über Seilzüge auf die Hinterräder wirkende Hand-
bremse wird ebenfalls beibehalten, wobei lediglich die Abdichtung
am Karosserieboden eine Änderung erfahren hat.

Fußhebelwerk

Das in seiner stehenden Anordnung beibehaltene Fußhebelwerk
für den Kupplungs- und Bremsfußhebel, ist entsprechend der
Gesamtkonzeption des Fahrwerks ebenfalls für einen Wartungs-
zyklus von 50 000 km ausgelegt. Die mit Sintereisenbuchsen aus-
gerüstete Lagerung der Fußhebel ist so gestaltet, daß die Schmier-
mittelfüllung der Fußhebelwelle (Getriebefett 10 GF) für diese
Laufleistung ausreicht, während ein Schmutz- und Spritzwasser-
eintritt mit Sicherheit verhindert wird. Die Nachschmierung erfolgt
auf einfache Weise durch eine Gewindebohrung der Fußhebelwelle
 
Kraftfahrzeugtechnik 10/1965
 
 
Zurück zur Auswahl oder zur Homepage  
 



Bild 12   Schnitt durch den Motor
des Wartburg 312 mit neuem
Zylinderkopf und nadelgelagertem Kolbenbolzen

Bild 13   Schnitt durch die Lüfter-
wellenlagerung im neuen Zylinder-
kopf. Man erkennt die in Lüfternähe
befindliche Kühlmittelpumpe
 
Kraftfahrzeugtechnik 10/1965
 
 
Zurück zur Auswahl oder zur Homepage  
 

an der Rahmenaußenseite. Die Kupplung wird weiterhin über Seil-
zug betätigt. Der Wartungszyklus beträgt ebenfalls 50 000 km.
Das Nachschmieren erfolgt hier durch einen Nippel der Seilhülle,
die beiderseits durch Manschetten abgedichtet ist. Das vom übrigen
Fußhebelwerk getrennte Gaspedal ist jetzt als Plattenpedal aus-
gebildet und am Karosserieboden gelagert, wie es ebenfalls im Bild 13
zu erkennen ist.

Laufräder

Alle Typen des Wartburg 1000-312, d. h., sowohl die Limousinen-
als auch die Coupé-, Camping- und Kombiausführung, sind mit
einheitlichen Laufrädern ausgerüstet, bei denen die Reifengröße
6.00-13 sl und die Felgengröße 4 ½ J x 13 Verwendung finden.
Die Reifen sind schlauchlos und als Niederquerschnittsreifen mit
verbessertem Seitenführungsverhalten gegenüber Reifen konven-
tioneller Ausführung ausgebildet.

Antriebsaggregat

Wie schon erwähnt, wird beim Wartburg 1000-312 als Antriebs-
quelle der Dreizylinder-Zweitaktmotor mit einem Hubvolumen von
992 cm³ und einer Nennleistung von 45 PS beibehalten, ebenso wie
das Viergang-Wechselgetriebe seines Vorgängertyps 311. Die Kraft-
übertragung vom Motor zum Getriebe erfolgt wie bisher durch eine
Einscheiben-Trockenkupplung; ebenso findet die funktionssichere
Lenkradschaltung des Getriebes weiterhin Verwendung.
Die Übernahme dieser Aggregate für den Wartburg 312 sowie vor-
genommene Weiterentwicklungen zur Steigerung der Funktions-
tüchtigkeit ergeben Detailänderungen, die im folgenden ebenfalls
kurz beschrieben werden sollen.

Motor
Zylinderblock und Triebwerk sind im wesentlichen unverändert
geblieben (Bild 12), damit auch die bereits seit einiger Zeit ange-
wendete Nadellagerung der Kolbenbolzen in den oberen Pleuel-
augen. Die Abdichtung der Kurbelkammern zwischen den einzelnen
Zylindern erfolgt jedoch nicht mehr durch Labyrinthdichtringe,
sondern durch eine Kolbenringabdichtung. Die Ringhöhe der Ver-
dichtungsringe des Kolbens wurde von 2 auf 2,5 mm geändert. Eine
konstruktive Umgestaltung hat dagegen der Zylinderkopf erfahren,
indem die Kühlmittelpumpe und der Kühlmittel-Temperaturregler
organisch in das Gußteil einbezogen wurden (Bild 13).
Der damit erreichte direkte Antrieb der Pumpe durch die wartungs-
frei in Rillenkugellagern laufende Lüfterwelle gestattet die Redu-
zierung des Keilriemenantriebes (Schmalkeilriemen) auf einen Drei-
punkttrieb (Kurbelwelle-Lüfterwelle-Lichtmaschine). Die Montage
des Kühlmittel-Temperaturreglers erfolgt durch einen als Gußteil
getrennt ausgeführten Wasseraustrittsstutzen, der durch drei
Schrauben befestigt wird und kann damit am eingebauten Motor
mühelos erfolgen.
Eine weitere Änderung hat die Zündanlage erfahren, bei der die
Nockenlagerung wartungsfrei in Kugellagern im Zündgehäuse erfolgt,
während die Mitnahme über einen in der Riemenscheibe der Kurbel-
welle eingepreßten Mitnehmerstift bewerkstelligt wird.
Während die Ansauganlage mit dem Flachstromvergaser H 362-24
und dem zweiteiligen Ansauggeräuschdämpfer fast unverändert bei-
behalten wird, kommt eine vollkommen neu gestaltete Auspuff-
anlage zur Anwendung. Sie besitzt lediglich zwei Dämpfer, den vorn
quer zur Fahrtrichtung starr am Motor befestigten Hauptschall-
dämpfer und den unter den Fondsitzen innerhalb der Rahmen-
längsträger untergebrachten Nachschalldämpfer. Die beiden Dämpfer
sind mit einer geraden Rohrleitung verbunden, die etwa in Fahr-
zeugmitte nach hinten verlegt ist. Mit dieser Anordnung sowie durch
die verbesserten Dämpfungseigenschaften der Anlage werden die
bereits erwähnten günstigen Geräuschpegelwerte im Fahrgastraum
erzielt.
Eine weitere Verbesserung hat das Kühlsystem erfahren, indem der
Lüfter zur Erhöhung seiner Wirksamkeit in einem Leitring läuft und
der dadurch intensivierte, vom Fahrtwind nahezu unabhängige
Kühlluftstrom durch eine Hutze, deren Übergang zum Leitring
durch eine Manschette abgedichtet ist, verlustlos durch den Kühler
gedrückt wird. Der Kühlmittelkreislauf ist darüber hinaus als soge-
nanntes geschlossenes System ausgebildet, indem ein neben der
Batterie untergebrachter, mit dem luftdicht geschlossenen Kühler
verbundener Ausgleichsbehälter (mit Über- und Unterdruckventil)
die auftretenden Druck- und Volumenunterschiede im Kühlsystem
ausgleicht, ohne daß ein Kühlmittelverlust auftritt. Zusammen mit
dem verwendeten Spezialkühlmittel, einem Gemisch aus 37 Vol.- %
Glysantin und 63 Vol.- % destilliertem Wasser, das bis zu Außen-
temperaturen von -25° Frostschutz gewährt, ergibt sich damit
eine Wartungsfreiheit des Kühlsystems für rd. zwei Jahre. Nach
diesem Zeitraum muß das Kühlmittel erneuert werden.

Tafel 2   Technische Daten des Fahrwerks

Vorderachse
 
 
 
Sturz
Spreizung
Vorspur
Nachlauf
Federweg
spezifische Federung
Teleskopstoßdämpfer
Aufbaufrequenz
Lenkung
Lenkradumdrehungen von
Anschlag bis Anschlag
mittlere Winkelübersetzung
mittlere Kraftübersetzung
Wendekreis-Dmr.

Hinterachse
 
Sturz [°]
Vorspur [mm]
Federweg (Rad) [mm]
spez. Federung
Teleskopstoßdämpfer
Aufbaufrequenz

Bremsen
Fußbremse
 
wirksame Bremsfläche
Handbremse

Bereifung
Scheibenrad
Reifenluftdruck
 
 
 

Elektrik
Batterie
Lichtmaschine und
Reglerschalter
Anlasser
Zündung
 
 
Fahrbahnbeleuchtung
 
Fahrtrichtungsanzeige und
Signalleuchten
 
Signalanlage
 
Sichtverbesserung
 
 
Schalteinrichtung
 
 
 
 
Innenbeleuchtung
Instrumentierung
 
 
 
Autosuper (Sonderwunsch)

Einzelradaufhängung durch Doppelquerlenker Schraubenfeder mit Gummizusatzfeder, doppeltwirkende Teleskopstoßdämpfer


0 bis 2 mm
1°10'
+ 80 mm/-85 mm
27 mm/100 kp
TD 1 - 27 - 130 (80/50) TGL 8114 Bl.1
77 min-1 bei zulässiger Achslast
Zahn-Schubstangenlenkung
 
3,5
19,9 bis 17
100 bis 85
10,2 m

max. Aus-
federung
5°20'
6,1
- 157

P voll
 
- 1°30'
0
0

max. Ein-
federung
-6°20'
8,3
62
31 mm/100 kp Achslast
TD 1 - 27 - 130 (140/30) TGL 8114 Bl.1
72 min-1 bei zul. Achslast

 
Öldruck-Vierradbremse    vorn Duplex Öldruck-Vierradbremse   hinten Simplex 920 cm²
mechanisch auf Hinterräder wirkend

6.00-13 schlauchlos
4 ½x13
für Limousine
 
für Kombiwagen
 

vorn
hinten
vorn
hinten

1,5 bis 1,6 at
1,5 bis 1,7 at
1,5 his 1,7 at
1,5 his 2,5 at

 
6 V 82 Ah
 
6 V 220 W spannungsregelnd
6 V 0,6 PS
Batteriezündung mit Anbau-
Dreihehelunterbrecher und Kleinzündspulen 6 V
zwei Einbauscheinwerfer, 170 mm L. A.
asymmetrisches Abblendlicht
 
vorn zwei Blinkleuchten; am Heck zwei
Blink-, Brems-, Schlußleuchten
Lichthupe, Horn und wahlweise
Zwei-Klang-Fanfare
elektr. Scheibenwischer und
mechanische Waschanlage, 230 mm Fahnenlänge, 1 Wischfrequenz
Tastatur für Beleuchtungs- und Geräte-
bedienung, Lenksäulenschalter für Fahrtrichtungsanzeige,
optische und akustische Signalanlage,
Fußabblendschalter
automatisch durch Türkontakte
Geschwindigkeitsmesser mit Gesamtwegzähler, Kombigerät für Kühlwassertemperatur und Kraftstoffvorrat sowie Anzeigeleuchten
A 100
 
Tafel 3   Hauptabmessungen und Kenndaten

Radstand
Spurweite vorn/hinten
Länge/Breite/Höhe (voll belastet)
Parkfläche
Masse, fahrfertig
zulässige Gesamtmasse
zulässige Achslast, vorn/hinten
Zuladung
Bodenfreiheit
maximale Geschwindigkeit
Beschleunigung
 
Reise-Kraftstoffverbrauch

2450 mm
1260/1300 mm
4300/1580/1448 mm
6,80m²
920 kg
1305 kg
640/680 kp
385 kg
160 mm
125 km/h
0 bis 80 km/h in 14 bis 15 s
0 bis 100 km/h in 26 s
8 bis 10 l
 
Kraftfahrzeugtechnik 10/1965
 
 
Zurück zur Auswahl oder zur Homepage  
 


Kupplung, Getriebe, Motor-Getriebe-Aufhängung

Die beim Baumuster 312 zur Anwendung kommende Kupplung
trägt die Typenbezeichnung LR 10-13 K und ist gegenüber der bis-
herigen Ausführung im Nenndrehmoment von 16 auf 14 kpm herab-
gesetzt. Diese Maßnahme dient der Verminderung der Ausrückkraft
und des Eingriffsstoßes und somit der Erhöhung des Fahrkomforts.
Das beibehaltene Vierganggetriebe des Baumusters 311 mit Sperr-
synchronisierung des 2. bis 4. Ganges und sperrbarem Drehfeder-
freilauf ist im Achsantrieb der neuen Reifengröße angeglichen,
während die Übersetzungen der einzelnen Gänge unverändert blie-
ben. Die sich daraus ergebenden Gesamtübersetzungsverhältnisse
sind in Tafel 1 enthalten.
Der Motorgetriebeblock ist unter Berücksichtigung der vorliegenden
Einbauverhälnisse nach hinten um 5° geneigt eingebaut. Die Auf-
hängung erfolgt in drei Punkten durch Gummimetallager, so daß
die Triebwerkvibrationen wirksam in allen Betriebsbereichen ge-
dämpft werden. Die Dreipunktaufhängung ist so angeordnet, daß die
Auflagepunkte unter Berücksichtigung der Reaktionskräfte des
Antriebs annähernd gleich belastet werden und sich ihre Auflage-
ebene mit der Hauptträgheitsachse des Motorgetriebeblockes deckt.
Das wird erreicht, indem zwei Auflagepunkte mit schräg einge-
bauten und dadurch auf Druck und Schub beanspruchten zylin-
drischen Gummifedern an breiten Auslegern in Höhe des hinteren
Drittels des Motors eine breite Auflagebasis bilden bei gleichzeitiger
seitlicher Abstützung, während eine dritte Gummifeder am hinteren
Getriebeende den Antriebsblock abstützt und gleichzeitig die Längs-
kräfte aufnimmt. Das diese Gummifeder aufnehmende Freilauf-
gehäuse am Getriebe ist entsprechend konstruktiv umgestaltet.

Karosserie und elektrische Anlage

Die Karosserie und damit auch die elektrische Anlage sind bis auf
die durch das neue Fahrgestell geänderten Anschlußmaße der Boden-
anlage unverändert beibehalten. Hervorgehoben sei lediglich, daß
die Türinnenverkleidung beim neuen Baumuster mit gepolsterter,
hochfrequenzgeschweißter PVC-Folie in geschmackvollen Dessins
ausgeführt sind, die bei der Luxusausführung eine zusätzliche
farbliche Absetzung aufweisen. Anstelle der dabei in Fortfall gekom-
menen seitlichen Türtasche ist auf der Beifahrerseite unterhalb der
Instrumententafel eine Netzablage angebracht.       MA 8478

Kennlinien des Motors 312-1

14



Bild 14   Kennlinien des Motors 312-1

Bild 15 und 16   Kennlinienfelder des Motors 312-1

16

Kennliniefelder des 312-1 Motors
15
Kennliniefelder des 312-1 Motors
 
Kraftfahrzeugtechnik 10/1965
 
 
Zurück zur Auswahl oder zur Homepage